Samsung Display, a subsidiary of Samsung Electronics, often exhibits concepts at trade shows like the Consumer Electronics Show (CES) Mobile World Congress (MWC), among others. For instance, the display manufactured used MWC 2025 to present various innovations, including the Flex Gaming and the Flexible Briefcase.
Typically, these concepts stay exactly that and never reach mass production. However, it seemed that Samsung Display also used MWC 2025 to tease the foldable panels that will underpin Samsung's first consumer tri-fold and the successor to the Galaxy Z Fold6 (curr. $1,099 - renewed on Amazon).
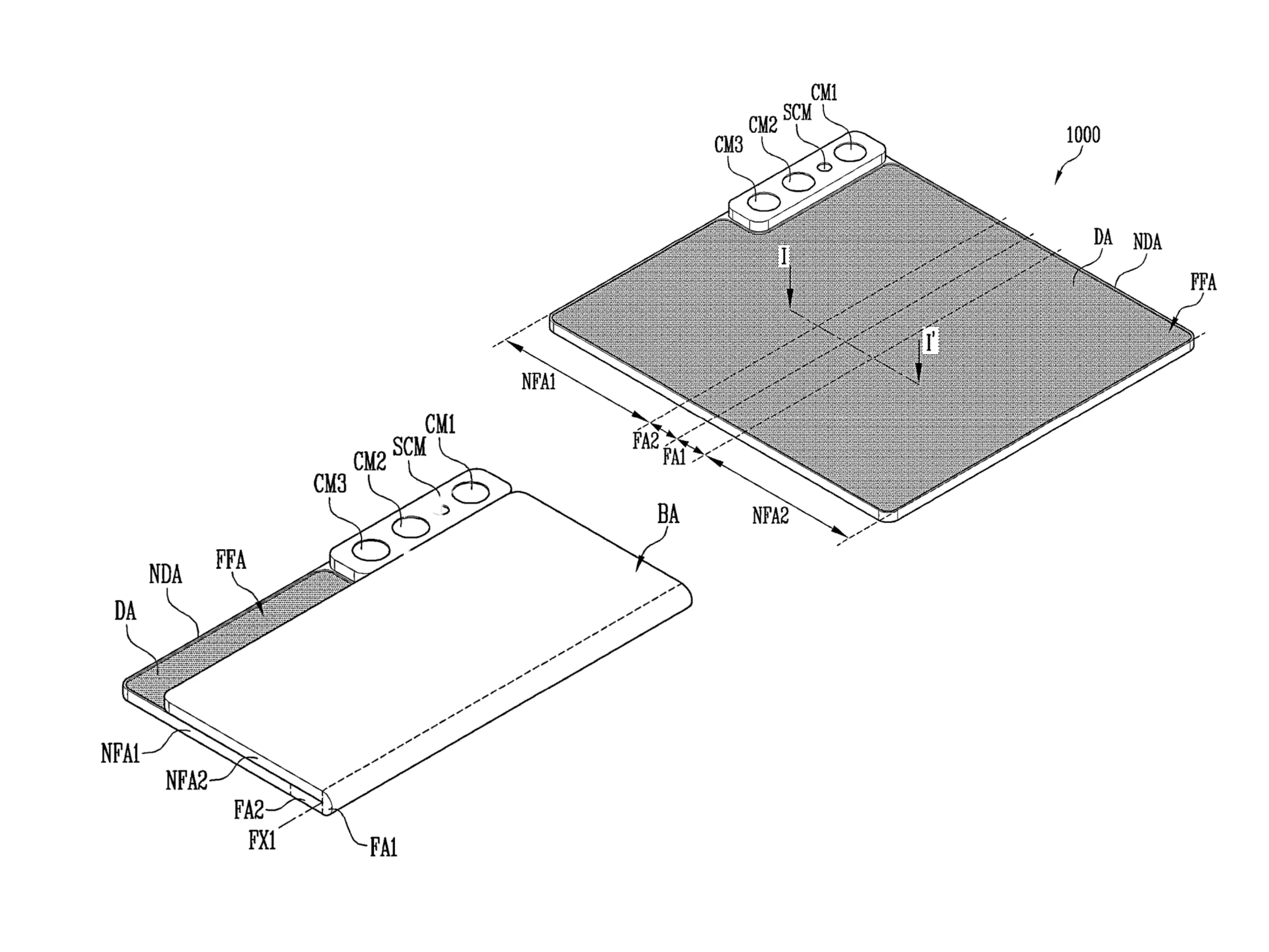
Now, the company has received design approval from the United States Patent & Trademark Office (USPTO) for an entirely new foldable form factor. As the patent drawings below show, this concept can fold its display inward and outward rather than only one way like existing consumer foldables. In effect, the concept combines the principles of the Galaxy Z Fold and Huawei Mate Xs or Mate Xs 2 into one device.
The patented design differs from the Flex In N Out that Samsung Display showcased during CES 2023 over two years ago. To recap, the Flex In N Out looked like a regular foldable that could fold inwards and outwards. By contrast, Samsung Display's new concept leaves a portion of its display exposed beneath its imagined triple camera array. Although the chances of this design coming to fruition are slim, we may eventually see Samsung Display exhibit a real-life example at a future trade show, just as it did earlier this year with the Flex Gaming.






















