Lei Jun still seems pretty insistent that he will see his company Xiaomi become an EV manufacturer before his stint as its CEO comes to an end. The major global electronics company has hit more roadblocks than it may have expected on its way to cross this line; however, with its own new proprietary charging IP, it might now be closer than ever to an important milestone.
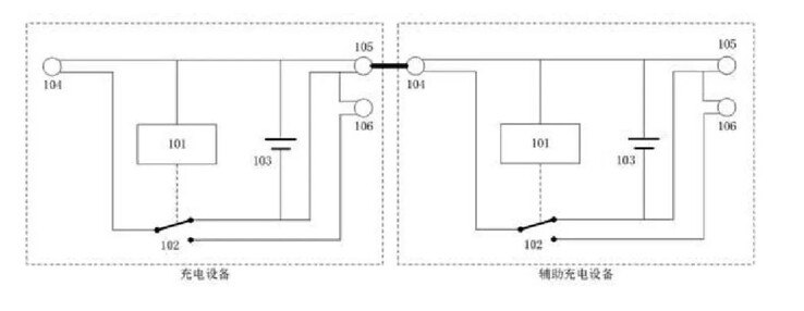
Xiaomi Auto Technology has now had its patent for what it calls a "charging device, method, apparatus, vehicle, electronic device and storage medium" approved by China's CNIPA. The documentation, now also posted by the World Intellectual Property Office (WIPO), thus depicts the technology as what could be an end-to-end charging system, which might also integrate into a home or enterprise grid on a "smart" or automatic basis.
Therefore, equipment based on this IP could put Xiaomi (already no stranger to advanced charging tech) that much closer to the mass production of a first-gen EV. Then again, potential customers might find such an apparent lack of compatibility with more universal car chargers a drawback in their next vehicle.



























