In a new patent discovered by tech4gamers.com, AMD expresses its concerns regarding the bandwidth limits of the DDR5 standard, especially now with the ever increasing demand for AI compute power. While Nvidia and memory chip producers like Samsung, SK Hynix and Micron are focusing on the SOCAMM2 standard, AMD is proposing an alternative that would be easier to implement in existing DDR5 systems, be they consumer or data center solutions.
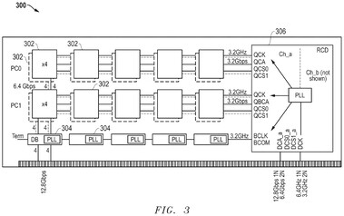
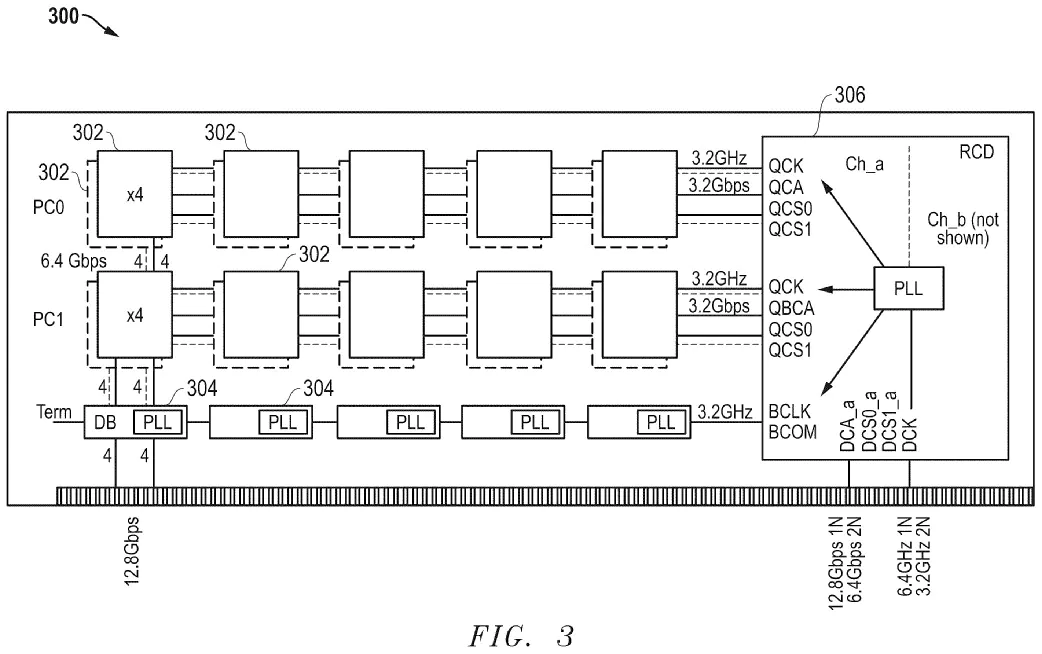
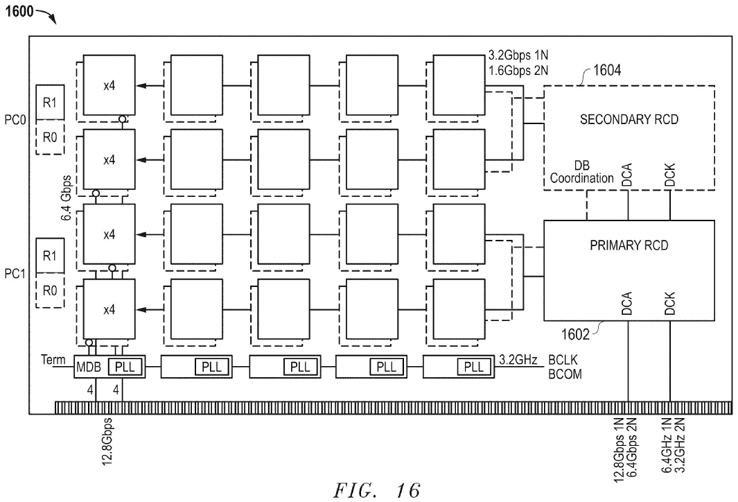
AMD’s improved memory standard involves “a high-bandwidth memory module architecture” that essentially doubles current DDR5 maximum bandwidth of 6.4 Gbps. It is important to note here that the 12.8 Gbps bandwidth is achieved without modifying the DRAM chip designs. Instead, the DRAM chips are placed on a high-bandwidth dual in-line memory module (HB-DIMM). The modules also integrate a series of additional hardware components such as special buffer chips that allow for data transfers twice as fast as what the DDR5 standard would allow. Moreover, the module makes use of register clock drivers (RCDs) that route signals more efficiently, parallelizing memory access, and thus breaking the throughput limits of the DDR5 standard.
The patent filing notes that the HB-DIMMs allow fast switching between pseud-channel and quad-rank modes, making the solution viable for HPCs, AI use cases, as well as gaming systems. DDR5 compatibility is ensured with the aid of flexible clocking modes plus a non-interleaved data transfer format that maintains signal integrity and low latency.
It looks like HB-DIMM is very similar to the existing MRDIMM (Multiplexed Rank Dual Inline Memory Modules) standard from Micron. However, MRDIMM is only available for Intel's Xeon Granite Rapids platform, so AMD is probably looking to have something similar for future EPYC processors. Phoronix recently published a DDR5-6400 vs MRDIMM-8800 test and the Micron proprietary standard appears to be indeed faster, but certainly not twice as fast as DDR5.
SOCAMM2 currently sees more industry support, so AMD’s HB-DIMM might have a hard time receiving adoption at least when it comes to HPC and server sectors.
Source(s)
via Techradar / Tech4Gamers / OC3D.net










