A new patent suggests that the Apple Pencil may eventually get an interesting new feature. According to a filing recently published by the United States Patent and Trademark Office, Apple may be developing a new Apple Pencil that can scan and copy colors from real-world objects.
The patent, which was filed on November 3, 2019 and published on July 16, 2020, details a “computer stylus” with a “plurality of photodetectors each of which measures light for a different receptive color channel.” In layman's terms, this filing is for a stylus (likely the Apple Pencil) that has a sensor that allows it to scan and copy colors from objects in the real world.
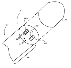
According to the drawings included with the patent, the color sensor would be located in either the back end of the Apple Pencil (where the eraser is) or in the tip of the stylus. (Note that the patent does stipulate the color sensor could be located “elsewhere in the device,” but these two locations are detailed in drawings and make the most sense.) The color sensor housing may also have an illumination source to light up objects for improved accuracy and consistent color readings.
Keep in mind that Apple files thousands of patents each year, and most of them are never used in future products. However, a color-sensing Apple Pencil could be a useful tool for artists and would further set the iPad apart from other tablets on the market.
What do you think about the new Apple Pencil patent? Would you buy an Apple Pencil that could grab colors from real-world objects? Let us know in the comments.


















