When Samsung, Microsoft and several other Chinese OEM smartphone companies hint at foldable phones being the next big thing, they clearly must be on to something. It looks like Apple has come to the same conclusion, as the company just filed for a foldable phone patent of its own, practically confirming the rumors surrounding a possible foldable iPhone that could be released by 2020.
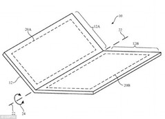
The patent reveals that Apple intends to integrate an actual flexible, foldable screen instead of dual-panels. According to the patent document, Apple’s foldable screen would make use of carbon nanotubes and optically clear adhesive. The carbon nanotubes act as an anti-corrosion additive to prevent deterioration of sensitive structures in the foldable pattern. The display itself would feature micro-LED technology, while the overall integrity of the device could be supported by a shape memory alloy made of liquid metal, which could take the form of nickel titanium or bulk metal glass.
The patent application was started back in Q3 2016, so Apple could sit on it for a bit and see how well other iterations from Samsung and Microsoft are received before going all in on this design. The 2020 scenario seems more suitable for release in this case.
Loading Comments
I first stepped into the wondrous IT&C world when I was around seven years old. I was instantly fascinated by computerized graphics, whether they were from games or 3D applications like 3D Max. I'm also an avid reader of science fiction, an astrophysics aficionado, and a crypto geek. I started writing PC-related articles for Softpedia and a few blogs back in 2006. I joined the Notebookcheck team in the summer of 2017 and am currently a senior tech writer mostly covering processor, GPU, and laptop news.
> Expert Reviews and News on Laptops, Smartphones and Tech Innovations > News > News Archive > Newsarchive 2017 11 > Apple applies for foldable phone patent
Bogdan Solca, 2017-11-24 (Update: 2026-02-18)


















