The Galaxy A80 is an unusual Samsung smartphone in a few senses, not least because it has not been replaced by a successor. The Galaxy A60 and Galaxy A90 are in the same boat, but Samsung has bolstered the Galaxy A-series since 2019 with the Galaxy A12 and Galaxy A32. Similarly, the Galaxy A52 and Galaxy A72 are on the horizon, as we have previously reported.
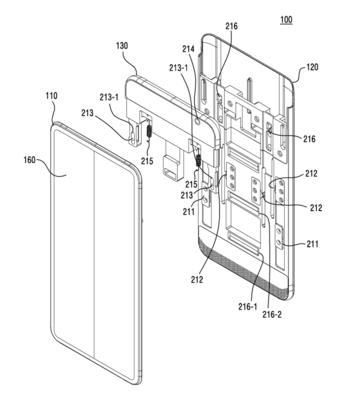
Now, LetsGoDigital has discovered that Samsung has patented a smartphone that resembles the Galaxy A80. Tentatively-called the Galaxy A82 by the Dutch website, the device features a dual slider mechanism that builds on the Galaxy A80. This time, the display can be pushed up and down to reveal different pieces of hidden hardware. According to the patent filed with the USPTO, the device has a front-facing camera and three rear-facing cameras on its top portion, along with a wide speaker grille on the bottom.
Presumably, the latter's inclusion would allow Samsung to equip the device with a better speaker than one would find on most smartphones. Additionally, the slider mechanism would provide a notch and bezel-free experience without resorting to immature technologies like under-display cameras. In saying that, Samsung may bring its first under-display camera to the Galaxy Z Fold 3 later this year. Unfortunately, there is no guarantee that Samsung will ever release a device like the one pictured here. However, we hope that the company does at some stage, as we were fans of the Galaxy A80 when we reviewed it in 2019.
Source(s)
USPTO via LetsGoDigital



























