Historically, Garmin has offered variants of its outdoor-focused smartwatches with solar charging capabilities that theoretically offer infinite battery life. In practice, the likes of the Instinct 3 Solar and Fenix 7 Pro Solar (curr. $449 on Amazon) deliver between three and five weeks' worth of battery apiece depending on how much sunlight they are exposed to daily.
To date, Garmin has only offered solar charging with smartwatches that also have Memory in Pixel (MiP) displays. As a result, the Fenix 8 Solar and Tactix 8 Solar miss out on the more vibrant AMOLED panel technology found in the Fenix E and the regular Fenix 8. Meanwhile, no Solar versions of the Fenix 8 Pro exist yet, with Garmin restricting its latest Pro-branded smartwatches to AMOLED and microLED displays.
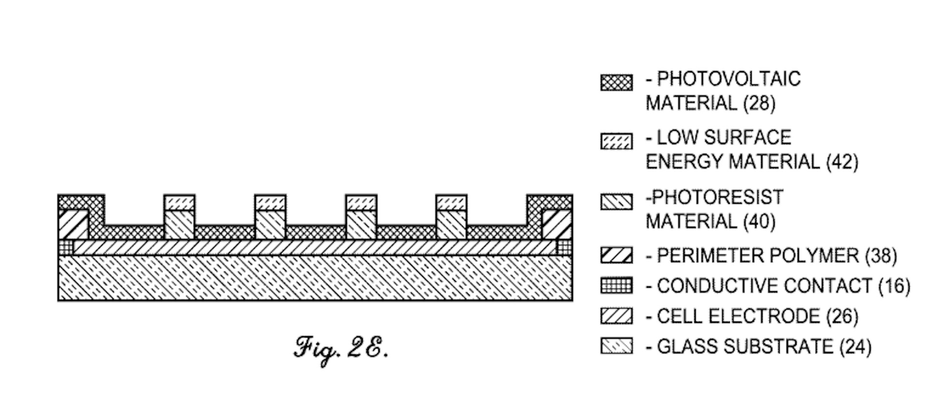
However, a recent patent publication indicates that Garmin hopes to change this current restriction by reworking its solar cell implementation. Filed with the United States Patent and Trademark Office (USPTO) as US 2025/0359354 A1, the patent describes a semi-transparent solar cell that would not compromise AMOLED panel visibility.
Consequently, the likes of Gadgets & Wearables speculates that Garmin is working towards releasing high-end smartwatches with AMOLED displays and solar charging capabilities. The USPTO only granted this patent on November 20. Thus, we suspect Garmin is a few years away from mass-producing this technology if it even chooses to do so. With that being said, we would not expect to see Fenix 9 Pro smartwatches arriving before 2027 rolls around.



























