The universal 3.5 mm audio jack has been steadily declining to the chagrin of consumers everywhere. Cheap budget smartphones from the Leagoo Kiicaa Mix all the way up to flagship models like the Pixel XL or Huawei Mate 10 Pro are already dropping the beloved port without much of a public explanation.
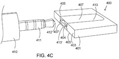
As recently reported by MSPowerUser, a Microsoft patent dating back to August 2016 aims to breathe new life to the 3.5 mm audio jack. The Redmond company has apparently been researching the applicability of a new smaller 3.5 mm receptacle that can still accept traditional 3.5 mm plugs. As shown by the image below, the port would sit flush against the edges of the device and will physically expand when a 3.5 mm plug is inserted. The proposed flexible design could potentially allow thinner smartphones to integrate a 3.5 mm audio jack since a significant volume of the inserted 3.5 mm plug would sit outside of the smartphone.
While an honorable approach, we fear that the adaptable "partial" port could be easily damaged since it would require smaller and more movable ports than an ordinary 3.5 mm port. MSPowerUser further argues that there would be little incentive for most OEMs to integrate such a design since the port would be more costly to manufacture than a traditional 3.5 mm port with no immediate promise of a return. At best, the adaptable port would only appear on Microsoft devices if it was to successfully make its way onto consumer devices at all.











